对于任正非这个人,很多人脑海中浮现的都是正直的企业家形象,伟大的人注定有着不平凡的人生,他在四十多岁的时候才成立华为,那个时候也是他人生最低谷的时刻,因为投资失败被公司开除,之后老婆又跟他离婚了,最终他靠着借来的3000块钱,成立了华为科技公司。
华为成立至今已经三十多年了,谁也想象不到曾经一个小小的工作室,,如今能成长为连美国都觊觎的公司,任正非自从成立华为以来,一直都坚持着自主创新,没有相关技术就到国外去学习,在掌握了一定的技术之后,华为并没有像国内的大多数科技企业一样,选择了照搬照抄,而是在原有的基础上进行升级,打造出属于自己的核心技术。
而就在近期,就是这样一家顶级企业的老板,因为公权私用,公开向全体华为员工道歉,这究竟是为何呢?
就在2月3日的晚上,任正非在华为内部心声社区,发表了针对注册姚安娜商标的一则声明,其中向华为的全体员工道歉了,作为这么大的一个企业家,愿意放下身段道歉,很多人都说到任老果然真性情!
在声明中任正非都提到了哪些
任正非提到:“她女儿的本名叫姚思为,而姚安娜只是为了出道而起的艺名,而之所以任总要公职私用帮助女儿注册商标,是因为很多人恶意去注册“姚安娜”的商标,如果不去处理的话,后期将会面临很多不必要的麻烦。”
而根据相关规定,中国大陆的公民必须要用公司的名义,或者个体工商户的营业执照,才有权利申请相应的商标,而姚安娜目前大学刚毕业,名下并没有任何的公司以及相应的营业执照,因此她个人是没有权利申请商标的,因此只能委托给华为的知识产权部进行注册。
任老还表示注册费用的资费由姚安娜本人支付,之后会转让给姚安娜工作室,随后任正非为自己的首次公权私用,向华为的全体员工进行道歉。
我们只看到任正非道歉,但事情的来龙去脉很多人都不了解,为什么任正非会这么着急公权私用帮助女儿注册商标,这其中又有什么样的故事呢?
任正非的小女儿姚安娜从小就在百般宠爱下长大,在上学期间就是我们眼中“别人家的孩子”,品学兼优的她在父亲的安排下,选择攻读了计算机系,更是成为了父亲口中中国稀缺的科技人才,然而在毕业后不久她发现者并不是自己想要的,而有着文艺梦想的她,最终选择了进军娱乐圈,任正非并没有过度干预女儿的决定,或许这就是宠爱把。
然而姚安娜的出道之路并没有我们想的那么的顺利,因为任正非的特殊身份,很多人会把一些不好的标签强加在她身上,类似于“富二代、名媛、美国籍”等等,这给一个刚毕业的她带来了很大的心里冲击,外加上很多企业和个人恶意注册“姚安娜”的商标,这给她造成了很大的伤害。
而任正非的公权私用,完全是出于保护女儿的角度出发,这对华为来说不过是举手之劳,只不过任正非此前做事一直都很严谨,突然做出这样的事,让人会有点格格不入的感觉。
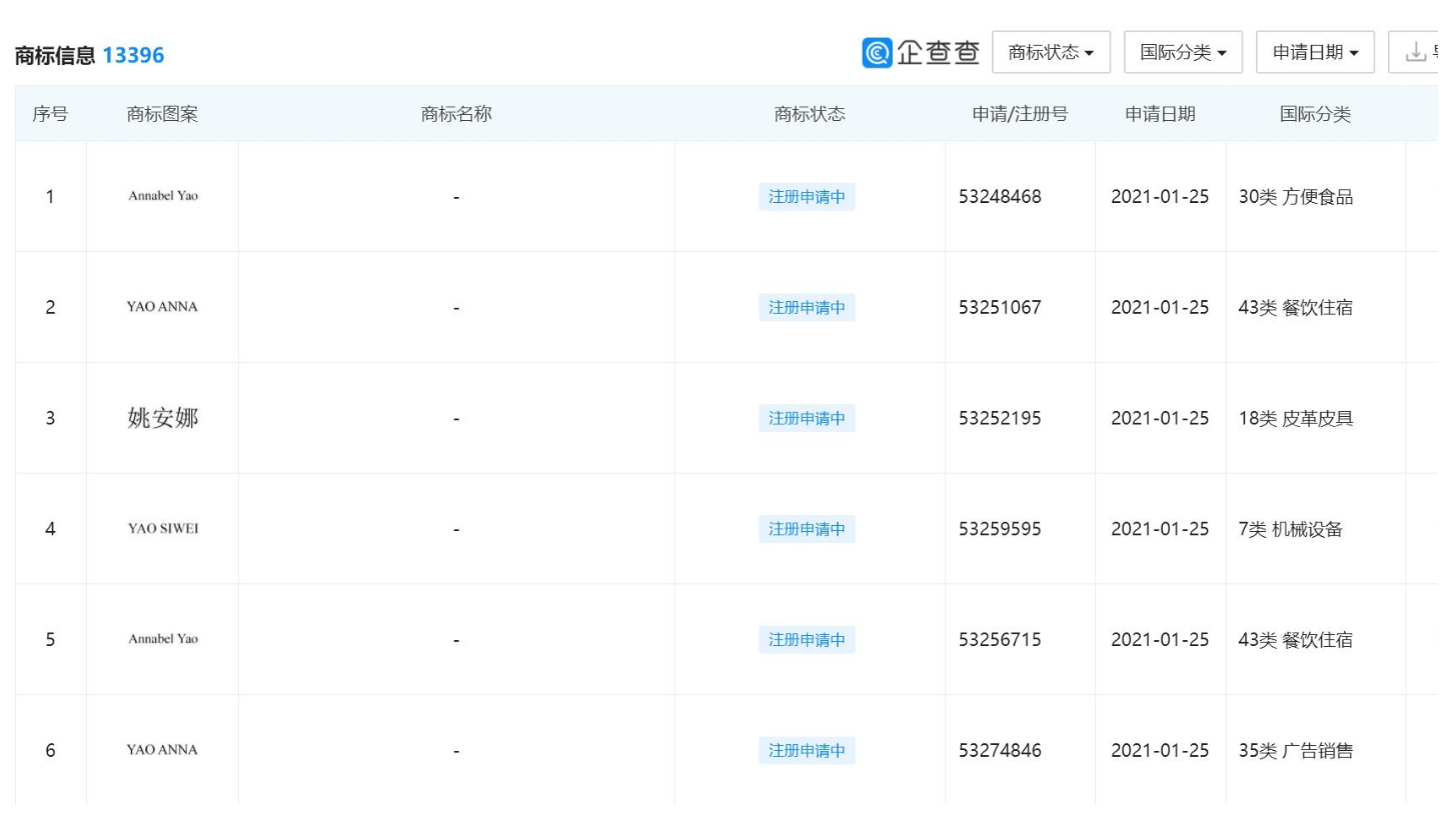
在2月2号的时候,企查查公布了一个消息,那就是华为申请注册“姚安娜”“姚思为”的商标,注册的范围包括了30类方便食品、14类珠宝钟表、38类通讯服务等等。
很多人都误以为这是华为接下来的大动作,但在任正非公开道歉之后,我们明白了这并不是华为公司的行为,而是任正非个人保护女儿所作出的举动,作为一个父亲“出此下策”我们是能够理解的,但同时也有人质疑姚安娜所加入的公司的公关能力了。








